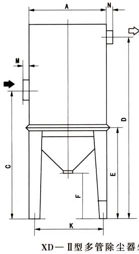
規格型號 | XD-Ⅱ-0.5 | XD-Ⅱ-1 | XD-Ⅱ-2 | XD-Ⅱ-4 | XD-Ⅱ-6 | XD-Ⅱ-10 | XD-Ⅱ-20 | XD-Ⅱ-35 |
配用鍋爐(t/h) | 0.5 | 1 | 2 | 4 | 6 | 10 | 20 | 35 |
處(chù)理煙氣量(m3/h) | 1500 | 3000 | 6000 | 12000 | 18000 | 30000 | 60000 | 105000 |
除塵效率(%) | >95 | |||||||
本體阻力(Pa) | <900 | |||||||
分割粒徑 | 3.05 | |||||||
重量 | 310 | 570 | 960 | 1900 | 2910 | 6100 | 11750 | 20300 |

![]() | |
![]() | ![]() |

冀公網安備13098102000563號